Молочные насосы для КРС являются важным инструментом для молочных ферм, которые занимаются производством и сбором молока от коров
Нерегулируемый, частота пульсаций 66±6 пульс/мин.
Регулируемый, частота пульсаций 60±5 пульс/мин.
Объем баллона 90 литров.
ДЛЯ МОЛОКОПРОВОДА С НАРУЖНЫМ ДИАМЕТРОМ ТРУБ 45 ММ
ДЛЯ НЕРЖАВЕЮЩЕГО МОЛОКОПРОВОДА С НАРУЖНЫМ ДИАМЕТРОМ ТРУБ 53 ММ
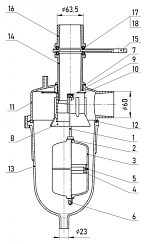
ДЛЯ ПРЕДОХРАНИТЕЛЬНОЙ КАМЕРЫ МОЛОКООПОРОЖНИТЕЛЯ,
ВАКУУМПРОВОД НАРУЖНЫМ ДИАМЕТРОМ ТРУБЫ 63 ММ
ДЛЯ ПРИВОДА ВОРОТ
Для ветвей подъема молокопровода агрегатов доильных адм-8а и адмн-200
ДЛЯ СТЕКЛЯННОГО МОЛОКОПРОВОДА
ДЛЯ СТЕКЛЯННОГО МОЛОКОПРОВОДА
Загрузить еще
- 1
- 2
