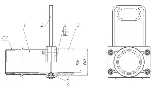
ДЛЯ ПРЕДОХРАНИТЕЛЬНОЙ КАМЕРЫ МОЛОКООПОРОЖНИТЕЛЯ,
ВАКУУМПРОВОД НАРУЖНЫМ ДИАМЕТРОМ ТРУБЫ 63 ММ
Подробнее
Наличие товара на складе и актуальность цен уточняйте у наших менеджеров
1 – Корпус ШРИБ-108-311.001;
2 – Шибер ШРИБ-108-311.002;
3 – Наконечник ШРИБ-108-311.003;
4 – Оболочка ШРИБ-108-311.004;
5 – Амортизатор ШРИБ-108-311.005;
6 – Винт М5х35;
7 – Гайка М5;
8 – Шайба А5
2 – Шибер ШРИБ-108-311.002;
3 – Наконечник ШРИБ-108-311.003;
4 – Оболочка ШРИБ-108-311.004;
5 – Амортизатор ШРИБ-108-311.005;
6 – Винт М5х35;
7 – Гайка М5;
8 – Шайба А5
