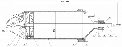
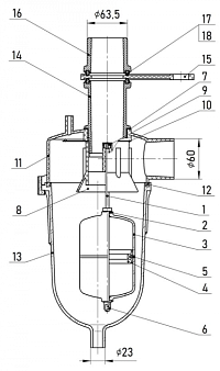
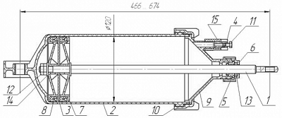
Молочные насосы для КРС являются важным инструментом для молочных ферм, которые занимаются производством и сбором молока от коров
Загрузить еще
- 1
- 2
Пн. – Пт с 8:00 – 17:00
Обед с 12:00 – 13:00
Молочные насосы для КРС являются важным инструментом для молочных ферм, которые занимаются производством и сбором молока от коров
