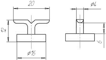
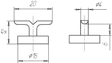
Материал – резина;
Масса – 0,012 кг
Масса – 0,012 кг
Наличие товара на складе и актуальность цен уточняйте у наших менеджеров
Пн. – Пт с 8:00 – 17:00
Обед с 12:00 – 13:00
